IT采购网3月26日消息,近日,美国商标和专利局(USPTO)公示了一项苹果公司新获得的关于VisionPro头显的技术专利。这项专利揭示了苹果在提升虚拟现实交互体验方面的新计划:将在LightSeal中嵌入触控传感器,为用户带来更加丰富和直观的交互方式。

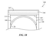
LightSeal作为苹果头显的一个重要组成部分,目前主要由柔软的纺织品制成,具有多种形状和尺寸,可以灵活弯曲以适应不同用户的脸部轮廓。其主要功能是阻挡外部光线,从而增强头显的沉浸式体验。然而,根据最新专利描述,苹果计划对LightSeal进行重大升级,将其打造成一个超大的触控交互区域。






据IT采购网了解,苹果在这项新专利中提出了一种创新的导电织物材料,用于替代传统的纺织品。这种导电织物内置了传感器,能够精确识别佩戴者的交互手势,如旋转、上下滑动等。未来,VisionPro头显将配备内置计算设备,用于收集和分析这些触控手势数据,并根据用户的交互意图做出相应的响应。
这一创新设计有望为虚拟现实用户带来更加自然和直观的交互体验。通过直接在LightSeal上进行触控操作,用户将能够更加轻松地与虚拟世界进行互动,无需依赖传统的控制器或手势识别设备。这不仅将提升用户的沉浸感,还有助于降低虚拟现实设备的使用门槛,吸引更多消费者加入虚拟现实的行列。
